1. Introduzzjoni
This manual provides essential information for the safe and efficient use of your Candy CBD 485D1E/1-S integrated washer dryer. Please read these instructions carefully before installing and operating the appliance. Keep this manual for future reference.
1.1 Informazzjoni dwar is-Sigurtà
- Dejjem skonnettja l-apparat mill-provvista tal-enerġija qabel ma tnaddaf jew tagħmel manutenzjoni.
- Tħallix lit-tfal jilagħbu bl-apparat.
- Kun żgur li l-apparat ikun ertjat kif suppost.
- Do not overload the washer dryer. Refer to capacity specifications.
- Żomm il-materjali tal-ippakkjar fejn ma jintlaħaqx mit-tfal.
- Uża biss deterġenti u addittivi adattati għal magni tal-ħasil awtomatiċi.
- Tnixxef oġġetti mhux maħsula fil- tumble dryer.
- Items soiled with substances such as cooking oil, acetone, alcohol, petrol, kerosene, spot removers, turpentine, waxes, and wax removers should be washed in hot water with an extra amount of detergent before being dried in the tumble dryer.
2. Setup u Installazzjoni
Installazzjoni xierqa hija kruċjali għall-prestazzjoni u s-sigurtà tal-apparat tiegħek. Huwa rakkomandat li l-installazzjoni titwettaq minn tekniku kwalifikat.
2.1 Disimballaġġ
Remove all packaging materials, including the polystyrene base and any protective film. Inspect the appliance for any damage. Report any damage to your retailer immediately.
2.2 Pożizzjonament u Livellar
The appliance must be installed in a dry, well-ventilated room. Ensure the floor is stable and level. Adjust the feet of the appliance to ensure it is perfectly level. This prevents vibrations and excessive noise during operation.

Image: The Candy integrated washer dryer shown installed within a kitchen cabinet, demonstrating its built-in design.
2.3 Konnessjoni tal-Ilma
Connect the water inlet hose to a cold water tap with a 3/4" thread. Ensure the hose is securely fastened to prevent leaks. The drain hose should be hooked into a standpipe or connected to a suitable drain, ensuring it is not kinked or obstructed.
2.4 Konnessjoni Elettrika
Connect the power plug to a properly earthed electrical socket. The voltage and frequency must match the specifications on the appliance's rating plate. Do not use extension cords or multiple adapters.
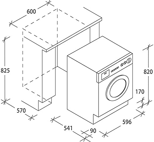
2.5 Dimensjonijiet
Refer to the diagram below for detailed dimensions to ensure proper integration into your cabinetry.

Image: A technical diagram illustrating the precise dimensions (length, width, height, and depth) of the Candy washer dryer, crucial for built-in installation.
3. Istruzzjonijiet Operattivi
This section guides you through the daily operation of your Candy washer dryer.
3.1 Control Panel Overview
The control panel features a digital display, program selector knob, and various function buttons. Familiarize yourself with these controls before starting a cycle.

Immaġni: Quddiem view of the Candy integrated washer dryer, highlighting the main control panel with its digital display and program selection knob, and the large front-loading door.
3.2 Tagħbija tal-Ħwejjeġ tal-Ħasil
Open the door and load items one by one, ensuring they are not tangled. Do not overload the drum. The maximum wash capacity is 8 kg, and the maximum drying capacity is 5 kg.

Immaġni: Close-up view of the interior of the washer dryer drum, made of stainless steel, showing its textured surface designed for efficient washing and drying.
3.3 Żieda ta' Deterġent u Addittivi
Pull out the detergent drawer. Add the appropriate amount of detergent to the main wash compartment and any fabric softener to its designated compartment. Do not exceed the maximum fill lines.
3.4 Għażla tal-Programm
Turn the program selector knob to choose the desired wash or wash & dry program. Available programs include:
- Qoton: Għal oġġetti tal-qoton reżistenti.
- Sintetiċi: Għal drappijiet sintetiċi u mħallta.
- Delikati: Għal oġġetti fraġli li jeħtieġu kura ġentili.
- Suf: Programm speċifiku għall-ħwejjeġ tas-suf.
- Ħasil Rapidu: Quick cycles (e.g., 14, 30, 44 minutes).
- Aħsel u Nixxef: Combined wash and dry cycles.
3.5 Buttuni tal-Funzjoni
Use the function buttons to customize your cycle:
- Temperatura: Aġġusta t-temperatura tal-ħasil.
- Spin Veloċità: Immodifika l-veloċità tal-ispin (sa 1400 rpm).
- Bidu Dewmien: Postpone the start of the cycle by up to 24 hours.
- Drying Level: Select the desired drying level (e.g., Iron Dry, Cupboard Dry).
3.6 Tibda u Twaqqif ta' Ċiklu
Press the Start/Pause button to begin the selected program. To pause a cycle, press the Start/Pause button again. To cancel a cycle, turn the program selector to the "OFF" position.
4. Manutenzjoni u Kura
Manutenzjoni regolari tiżgura l-lonġevità u l-prestazzjoni ottimali tal-apparat tiegħek.
4.1 Tindif tal-Kexxun tad-Deterġenti
Periodically remove and clean the detergent drawer under running water to prevent detergent residue buildup.
4.2 Tindif tal-Filtru
The filter should be cleaned regularly to prevent blockages. Locate the filter at the bottom front of the appliance. Place a shallow container underneath to catch any residual water. Unscrew the filter, remove any lint or debris, and rinse it thoroughly before reinserting.
4.3 Tindif tas-Siġill tal-Bieb
Wipe the door seal after each wash to remove any lint or moisture, preventing mold and unpleasant odors.
4.4 Tneħħija tal-Ġebla
In areas with hard water, periodic descaling may be necessary. Use a descaling product suitable for washing machines and follow the manufacturer's instructions.
5 Issolvi l-problemi
Qabel ma tikkuntattja lis-servizz tal-konsumatur, irreferi għat-tabella li ġejja għal kwistjonijiet komuni u s-soluzzjonijiet tagħhom.
| Problema | Kawża Possibbli | Soluzzjoni |
|---|---|---|
| L-apparat ma jibdax. | Ebda provvista tal-enerġija; il-bieb mhux magħluq sew; il-programm mhux magħżul. | Check power plug and fuse; ensure door is firmly closed; select a program and press Start. |
| L-ilma mhux qed jimtela. | Water tap closed; inlet hose kinked or blocked; water pressure too low. | Iftaħ il-vit tal-ilma; iddritta l-pajp; iċċekkja l-pressjoni tal-ilma tad-dar. |
| L-ilma mhux qed joħroġ. | Il-pajp tad-drenaġġ imdawwar jew imblukkat; il-filtru mblukkat. | Straighten drain hose; clean the filter. |
| Vibrazzjoni/ħoss eċċessiv. | L-apparat mhux livellat; il-boltijiet tat-trasport mhux imneħħija; tagħbija irregolari. | Adjust leveling feet; ensure transport bolts are removed; redistribute laundry in the drum. |
| Drying performance is poor. | Overloaded; filter blocked; incorrect drying program. | Reduce load; clean filter; select appropriate drying program. |
| Error Code E03 (as per user review). | Drainage issue, possibly blocked pump or hose. | Check and clear the drain filter. Inspect the drain hose for kinks or blockages. If the problem persists, contact service. |
6. Speċifikazzjonijiet Tekniċi
Detailed technical data for the Candy CBD 485D1E/1-S integrated washer dryer.
| Karatteristika | Speċifikazzjoni |
|---|---|
| Numru tal-Mudell | CBD485D1E/1-S |
| Brand | Candy |
| Tip | Washer Dryer integrat |
| Kapaċità tal-Aħsel | 8 Kilogrammi |
| Kapaċità tat-tnixxif | 5 Kilogrammi |
| Veloċità Massima ta 'Spin | 1400 rpm |
| Dimensjonijiet (L x W x H) | 60 x 53 x 82 ċm |
| Piż | 65 Kilogrammi |
| Voltage | 230 Volts |
| Qawwa | 727 Watts |
| Annual Energy Consumption (Wash) | 326 Kilowatt-siegħa |
| Livell ta' Storbju (Spin) | 77 Deċibel |
| Materjal tanbur | Stainless Steel |
| Tip ta' Kontroll | Handle (Rotary Knob) |
| Metodu ta 'Installazzjoni | Integrata |
| Konformità | Energy Star |
Note: Specifications are subject to change without notice. Refer to the appliance rating plate for the most accurate information.
7. Garanzija u Appoġġ
7.1 Garanzija tal-Prodott
This appliance comes with a standard manufacturer's warranty of 24 months from the date of purchase. This warranty covers manufacturing defects and faulty materials. Please retain your proof of purchase for any warranty claims.
The return policy for this product is 30 days from the date of purchase, covering refunds or replacements as per retailer terms.
7.2 Appoġġ għall-Klijent
For technical assistance, spare parts, or warranty claims, please contact your retailer or the authorized Candy service center. Information regarding spare parts availability is currently not provided by the manufacturer.
For further information, you may visit the official Candy websit jew ikkuntattja lid-dipartiment tas-servizz tal-konsumatur tagħhom.





